| штат: | |
|---|---|
| Количество: | |
Стенд для поверки газовых счетчиков со звуковыми насадками типа ГНП
1、Общий
• Звуковая испытательная установка GNP для газовых счетчиков представляет собой автоматическую испытательную установку нового поколения с высокой точностью, высокой эффективностью и хорошей стабильностью.
• Испытательная установка состоит из звукового сопла, системы динамической выборки изображений, испытательного стенда, безмасляного вакуумного насоса, управляющего газового контура, системы с одним чипом, ПК и т. д. В качестве основного стандарта используется звуковое сопло, сопла выбираются автоматически с помощью ПК. в зависимости от разной скорости потока.Для автоматического измерения температуры, давления и влажности используются технология одночипового и высокоточного аналого-цифрового преобразования, участвующая в расчете и коррекции ошибок.Таким образом, чтобы обеспечить точность испытательного стенда.Вся система может осуществлять полностью автоматический тест под управлением ПК и имеет функцию сохранения исходных данных, запроса и печати.
• Испытательное оборудование может выполнять автоматические испытания диафрагменных газовых счетчиков G1.6, G2.5, G4.0 в соответствии со стандартом JJG577-2012.Система с динамической выборкой изображения, входом сканирования штрих-кода, автоматическим приемным герконом и импульсным сигналом газового счетчика, автоматическим компенсация для температуры и давления, оценки ошибок, запроса данных, функции хранения и печати.
2、Основная характеристика
• Подходит для проверки погрешности бытового мембранного газового счетчика G1.6, G2.5, G4.0 при трех расходах Qmax,0,2Qмакс и Qмин
• Принять звуковое сопло Вентури в качестве стандарта,автоматически выбирает наилучшую комбинацию форсунок с помощью компьютера в соответствии с различной скоростью потока.
• Несколько счетчиков газа должны быть проверены одновременно в последовательном соединении, что значительно повышает эффективность тестирования.
• Автоматический выбор для проверки газового счетчика с левым или правым входом с помощью переключающего клапана.
• Сигнал считывания газового счетчика может быть быстро собран,точно и надежно с помощью динамического процессора изображений
• Автоматический прием сигнала геркона и выход импульсного сигнала с помощью газового счетчика с IC-картой
• После теста,система автоматически подберет наилучший коэффициент передачи газового счетчика
• Прецизионный датчик,Система с одним чипом и технология высокоточного аналого-цифрового преобразования внедряются для автоматического измерения температуры, давления и влажности, участвующих в расчете и коррекции ошибок в реальном времени, что обеспечивает точность испытательного стенда.
• Вся система может реализовать полностью автоматический тест под управлением программного обеспечения.Программный интерфейс отличается приятным внешним видом и простотой в эксплуатации.Данные испытаний и результаты анализа могут быть связаны с Excel, чтобы быстро выполнить отчет о тестировании.Он также имеет хранилище данных,печать сертификата,анализ и статистическая функция.
3、Характеристики процессора динамических изображений
• Высокая эффективность: динамический процессор изображений не только распознает счетчик газа, но также автоматически подсчитывает количество и время.Таким образом,это означает сокращение времени работы вхолостую перед проверочным газовым счетчиком.Особенно для 0,2Qmax и Qmin, которые значительно повышают эффективность.Если сравнивать с оптоэлектронной выборкой, динамический процессор изображений может повысить эффективность на 20-40%.
• Тест на большие расстояния: динамический процессор изображений имеет высокое разрешение, мы можем увеличить 7см между камерой и газовым счетчиком.
• Высокая скорость сбора: динамический процессор изображений имеет более 99% успеха при сборе сигнала газового счетчика.Он преодолевает ручную настройку, затрудняет фокусировку, даже неустойчиво собирает сигнал после настройки.
Динамический процессор изображений
4、Условия окружающей среды
• Температура окружающей среды:20±5℃
• Относительная влажность: 30%~80%
• Барометрическое давление: 86~106 кПа
• Рабочие среды:воздуха
• Источник питания:220 В переменного тока
• Подача сжатого воздуха:выше 0,4 МПа
• Размер объекта:4,8 м(L)*0,61 м(W)* 1,8 м(H)
5、Структура системы и принцип работы
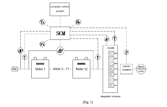
5.1 Структура системы(Рисунок 1)
5.2 Принцип работы
Оборудование использует звуковое сопло Вентури в качестве стандарта.Звуковое сопло Вентури характеризуется простой конструкцией, стабильной работой, высокой точностью, простотой обслуживания, длительным циклом проверки (5 лет), отсутствием движущихся частей и т. д.
(Звуковые насадки)
В процессе эксплуатации движение воздуха в трубопроводе осуществляется за счет откачки.Воздух поступает в испытуемый измерительный прибор через фильтр, левую и правую систему переключения, затем в стагнационную емкость, а затем в буферную емкость через звуковое сопло и регулирующий клапан, и, наконец, в атмосферу через безмасляный вакуумный насос.Когда поток газа через звуковое сопло достигает критического состояния, масса и скорость потока, прошедшего через испытуемый расходомер через звуковое сопло, остаются неизменными.
Таким образом, поток через звуковое сопло во времени гарантирован.Между тем, система получит сигнал отбора проб газового счетчика.,сигнал датчика температуры, сигнал датчика давления, сигнал датчика влажности,получить ошибку газового счетчика после автоматической коррекции на эти температуры,фактор влияния давления и влажности.
6、Основная техническая спецификация
• Системная неопределенность:±0,5%
• Подходит для тестирования G1.6,G2.5,Мембранный газовый счетчик G4.0
• Счетчик для проверки:6, 8, 12 шт.
7、Установка и ввод в эксплуатацию
• Процесс установки
• Подключить испытательный стенд и компьютер
• Подключите питание системы и источник воздуха
• Включите компьютер, установите базу данных и специальное тестовое программное обеспечение.
8、Процедура ввода в эксплуатацию
• Проверьте правильность настройки всех параметров.
• Проверьте, нормально ли работает связь между компьютером и испытательным стендом.
9、Установка программы
• Системные требования
• Процессор Intel Pentium III 866 МГц
• Система Windows XP или Windows7
• 2 ГБ свободного места на диске
• 4X СКОРОСТЬ CD-ROM
• 2 USB-интерфейса
• Последовательный порт RS-232
10、Изображение объекта
Акустическая испытательная установка для газовых счетчиков(12 позиций)
11、Список конфигурации
Вещь | Основные части | Бренд | Параметр | Качественный |
1 | Звуковые насадки | 0,016, 0,025, 0,04, 0,5, 0,8, 1,2, 4 м³/ч | 7установлен | |
2 | Датчик абсолютного давления | 80~120кПа | 1 установлен | |
3 | Датчик давления | ±10кПа | 3 установлен | |
4 | Датчик температуры | 0-50℃,±0,2℃ | 3 установлен | |
5 | Датчик влажности | 0~100%,≤3% | 1 установлен | |
5 | Динамический процессор изображений | 7 автофокус | 12 установлен | |
6 | Вакуумный насос | 1,25 кВт | 1 установлен | |
7 | ПК | I39100/4G/SSD256 | 1 установлен | |
8 | Притер | А4 | 1 установлен | |
9 | Клапанная система | / | 1 установлен |
Стенд для поверки газовых счетчиков со звуковыми насадками типа ГНП
1、Общий
• Звуковая испытательная установка GNP для газовых счетчиков представляет собой автоматическую испытательную установку нового поколения с высокой точностью, высокой эффективностью и хорошей стабильностью.
• Испытательная установка состоит из звукового сопла, системы динамической выборки изображений, испытательного стенда, безмасляного вакуумного насоса, управляющего газового контура, системы с одним чипом, ПК и т. д. В качестве основного стандарта используется звуковое сопло, сопла выбираются автоматически с помощью ПК. в зависимости от разной скорости потока.Для автоматического измерения температуры, давления и влажности используются технология одночипового и высокоточного аналого-цифрового преобразования, участвующая в расчете и коррекции ошибок.Таким образом, чтобы обеспечить точность испытательного стенда.Вся система может осуществлять полностью автоматический тест под управлением ПК и имеет функцию сохранения исходных данных, запроса и печати.
• Испытательное оборудование может выполнять автоматические испытания диафрагменных газовых счетчиков G1.6, G2.5, G4.0 в соответствии со стандартом JJG577-2012.Система с динамической выборкой изображения, входом сканирования штрих-кода, автоматическим приемным герконом и импульсным сигналом газового счетчика, автоматическим компенсация для температуры и давления, оценки ошибок, запроса данных, функции хранения и печати.
2、Основная характеристика
• Подходит для проверки погрешности бытового мембранного газового счетчика G1.6, G2.5, G4.0 при трех расходах Qmax,0,2Qмакс и Qмин
• Принять звуковое сопло Вентури в качестве стандарта,автоматически выбирает наилучшую комбинацию форсунок с помощью компьютера в соответствии с различной скоростью потока.
• Несколько счетчиков газа должны быть проверены одновременно в последовательном соединении, что значительно повышает эффективность тестирования.
• Автоматический выбор для проверки газового счетчика с левым или правым входом с помощью переключающего клапана.
• Сигнал считывания газового счетчика может быть быстро собран,точно и надежно с помощью динамического процессора изображений
• Автоматический прием сигнала геркона и выход импульсного сигнала с помощью газового счетчика с IC-картой
• После теста,система автоматически подберет наилучший коэффициент передачи газового счетчика
• Прецизионный датчик,Система с одним чипом и технология высокоточного аналого-цифрового преобразования внедряются для автоматического измерения температуры, давления и влажности, участвующих в расчете и коррекции ошибок в реальном времени, что обеспечивает точность испытательного стенда.
• Вся система может реализовать полностью автоматический тест под управлением программного обеспечения.Программный интерфейс отличается приятным внешним видом и простотой в эксплуатации.Данные испытаний и результаты анализа могут быть связаны с Excel, чтобы быстро выполнить отчет о тестировании.Он также имеет хранилище данных,печать сертификата,анализ и статистическая функция.
3、Характеристики процессора динамических изображений
• Высокая эффективность: динамический процессор изображений не только распознает счетчик газа, но также автоматически подсчитывает количество и время.Таким образом,это означает сокращение времени работы вхолостую перед проверочным газовым счетчиком.Особенно для 0,2Qmax и Qmin, которые значительно повышают эффективность.Если сравнивать с оптоэлектронной выборкой, динамический процессор изображений может повысить эффективность на 20-40%.
• Тест на большие расстояния: динамический процессор изображений имеет высокое разрешение, мы можем увеличить 7см между камерой и газовым счетчиком.
• Высокая скорость сбора: динамический процессор изображений имеет более 99% успеха при сборе сигнала газового счетчика.Он преодолевает ручную настройку, затрудняет фокусировку, даже неустойчиво собирает сигнал после настройки.
Динамический процессор изображений
4、Условия окружающей среды
• Температура окружающей среды:20±5℃
• Относительная влажность: 30%~80%
• Барометрическое давление: 86~106 кПа
• Рабочие среды:воздуха
• Источник питания:220 В переменного тока
• Подача сжатого воздуха:выше 0,4 МПа
• Размер объекта:4,8 м(L)*0,61 м(W)* 1,8 м(H)
5、Структура системы и принцип работы
5.1 Структура системы(Рисунок 1)
5.2 Принцип работы
Оборудование использует звуковое сопло Вентури в качестве стандарта.Звуковое сопло Вентури характеризуется простой конструкцией, стабильной работой, высокой точностью, простотой обслуживания, длительным циклом проверки (5 лет), отсутствием движущихся частей и т. д.
(Звуковые насадки)
В процессе эксплуатации движение воздуха в трубопроводе осуществляется за счет откачки.Воздух поступает в испытуемый измерительный прибор через фильтр, левую и правую систему переключения, затем в стагнационную емкость, а затем в буферную емкость через звуковое сопло и регулирующий клапан, и, наконец, в атмосферу через безмасляный вакуумный насос.Когда поток газа через звуковое сопло достигает критического состояния, масса и скорость потока, прошедшего через испытуемый расходомер через звуковое сопло, остаются неизменными.
Таким образом, поток через звуковое сопло во времени гарантирован.Между тем, система получит сигнал отбора проб газового счетчика.,сигнал датчика температуры, сигнал датчика давления, сигнал датчика влажности,получить ошибку газового счетчика после автоматической коррекции на эти температуры,фактор влияния давления и влажности.
6、Основная техническая спецификация
• Системная неопределенность:±0,5%
• Подходит для тестирования G1.6,G2.5,Мембранный газовый счетчик G4.0
• Счетчик для проверки:6, 8, 12 шт.
7、Установка и ввод в эксплуатацию
• Процесс установки
• Подключить испытательный стенд и компьютер
• Подключите питание системы и источник воздуха
• Включите компьютер, установите базу данных и специальное тестовое программное обеспечение.
8、Процедура ввода в эксплуатацию
• Проверьте правильность настройки всех параметров.
• Проверьте, нормально ли работает связь между компьютером и испытательным стендом.
9、Установка программы
• Системные требования
• Процессор Intel Pentium III 866 МГц
• Система Windows XP или Windows7
• 2 ГБ свободного места на диске
• 4X СКОРОСТЬ CD-ROM
• 2 USB-интерфейса
• Последовательный порт RS-232
10、Изображение объекта
Акустическая испытательная установка для газовых счетчиков(12 позиций)
11、Список конфигурации
Вещь | Основные части | Бренд | Параметр | Качественный |
1 | Звуковые насадки | 0,016, 0,025, 0,04, 0,5, 0,8, 1,2, 4 м³/ч | 7установлен | |
2 | Датчик абсолютного давления | 80~120кПа | 1 установлен | |
3 | Датчик давления | ±10кПа | 3 установлен | |
4 | Датчик температуры | 0-50℃,±0,2℃ | 3 установлен | |
5 | Датчик влажности | 0~100%,≤3% | 1 установлен | |
5 | Динамический процессор изображений | 7 автофокус | 12 установлен | |
6 | Вакуумный насос | 1,25 кВт | 1 установлен | |
7 | ПК | I39100/4G/SSD256 | 1 установлен | |
8 | Притер | А4 | 1 установлен | |
9 | Клапанная система | / | 1 установлен |
По мере повышения уровня жизни и роста осведомленности об охране окружающей среды люди перешли от использования традиционных видов топлива, таких как дрова и уголь, которые расточительны и загрязняют окружающую среду, к использованию экологически чистой энергии, такой как природный газ и газ, или даже электричество.Здесь работает мембранный газовый счетчик.
Диафрагменный газовый счетчик представляет собой объемный расходомер природного газа, используемый коммунальными предприятиями для выставления счетов в жилых и небольших коммерческих помещениях.Его преимуществами являются проверенная технология, надежные измерения и постоянное качество.Далее рассмотрим газовый счетчик Диафрагменный.
Предоплаченный мембранный газовый счетчик с картой IC представляет собой мембранный газовый счетчик с функцией предоплаты.Он основан на мембранном газовом счетчике с передающим устройством, использующим карту IC в качестве носителя, оснащенным электронным контроллером и электрическим клапаном.Этот предоплаченный диафрагменный газовый счетчик с картой IC поддерживает различные
Предоплаченный промышленный газовый счетчик с картой IC представляет собой коммерческий и промышленный газовый счетчик с диафрагмой, который включает в себя лучшие отечественные и зарубежные продукты.Он был разработан с новаторским духом и опытом счетчиков Kinhil более 20 лет.Эти газовые счетчики подходят для
Интеллектуальный мембранный газовый счетчик IoT представляет собой мембранный газовый счетчик, основанный на технологии Интернет+.Он обеспечивает газовую компанию своевременной и точной информацией о счетчике.В то же время это облегчает удаленный контроль и дистанционное управление газовым счетчиком со стороны газовой компании.Базовый метр
Здесь впервые заимствовано от человека в отрасли: если технология NB-IoT позволяет газовому счетчику вставлять крылья интеллектуальной связи, то технология ультразвукового измерения должна вводить основную группу мышц для газового счетчика, в технологии измерения была существенно улучшена, т.к.
В настоящее время индустрия ультразвуковых расходомеров газа постоянно развивается в разных странах, и компании, занимающиеся ультразвуковыми расходомерами газа, постепенно вступают на путь выживания и развития за счет точного управления, улучшения качества обслуживания и взимания платы за управление безопасностью и измерения.
Ультразвуковой расходомер газа можно использовать различными способами: ультразвуковым, датчиком давления, температуры и другими многозондовыми технологиями обнаружения и контроля для шести категорий негабаритных диапазонов.Специальный тип камеры с запатентованным изобретением обеспечивает самокалибровку и кратчайший срок службы.
Платформа управления данными — это система, которая совершенствует традиционную модель оплаты энергии за счет использования режима покупки, использования и автоматического отключения электроэнергии для интеграции излишков, зарядки и контроля, что делает оплату энергии проще и эффективнее.Дата ком
Платформа управления данными используется в области управления энергопотреблением в коммерческих комплексах, жилых районах, офисных зданиях, магазинах, школах, фабриках и шахтах.Это также сокращает персонал и расходы в течение периода, значительно сокращая расходы руководства на выставление счетов и, таким образом, продвигая электронную
По мере того, как уровень жизни продолжает улучшаться, люди становятся все более и более экологически чистыми, а традиционные источники энергии, которые сильно загрязняют окружающую среду, постепенно отказываются от них.Со строительством и популяризацией магистральных газопроводов возникли счетчики газа, от механических
Ультразвуковой газовый счетчик для пресечения газовых аварий в зародышеВ последнее время взрывы газа не покидают умы людей во всем мире, и новости о газовой безопасности распространяются повсюду.В связи с быстрым ростом числа потребителей газа несчастные случаи, связанные с безопасностью газа в городах, стали третьим по величине убийцей в мире.
Ультразвуковой счетчик газа является основой для расчетов по торговле электроэнергией.В последние годы предпочтение отдается электронным методам учета, таким как ультразвуковой и тепловой, поскольку они более точны и надежны, стабильны в работе и не требуют технического обслуживания и внесли важные изменения в газовый счетчик.
По мере того, как уровень жизни продолжает улучшаться, люди становятся все более и более экологически сознательными, и традиционные источники энергии, которые сильно загрязняют окружающую среду, постепенно отказываются от них.В 1960-х и 1970-х годах государство также ввело политику газопровода и соответствующие меры.С констр.
Ультразвуковой счетчик газа использует звуковые волны для определения скорости, с которой жидкость течет по трубе.В непроточных условиях частота ультразвуковой волны, прошедшей в трубу, равна частоте, которую она отражает от жидкости.В условиях течения частота исх.
Детектор утечки газа используется для обнаружения утечек, проверки газонепроницаемости и профилактического обслуживания.Обнаружение ультразвуковых волн обычно относится к полосе частот выше 20 кГц, в то время как верхний предел человеческого уха может воспринимать 16,5 кГц, и использование этой характеристики ультразвуковых
Как использовать Детектор утечки газаСигнализатор утечки газа — это прибор, используемый для определения концентрации утечки газа, который может определить концентрацию газа в окружающей среде.Например, в промышленном производстве есть токсичные и опасные газы или горючие газы, поэтому вы можете быстро
Стремительное развитие городского газового хозяйства выдвинуло учет газа на довольно важное место.Счетчики газа используются не только для измерения пропускания в газопроводах и учета газа на промышленных и горнодобывающих предприятиях и в учреждениях социального обеспечения, но и популяризируются в миллионах часов.
Согласно статистике, онлайн-использование диафрагменного гражданского газа превысило 50 миллионов единиц.С разработкой и применением природного газа в Китае первая и вторая линии проекта «Западно-восточная транспортировка газа» и проекта «Газ Шэньси в Пекин», которые были завершены или
Мембранный счетчик газа для гражданского населения — это прибор для точного измерения расхода газа по трубопроводу, который широко используется в нефтяной, химической промышленности, электроэнергетике, промышленных котлах и других областях измерения газа, применимых к природному газу, городскому газу, пропану, бутану, этилену. , воздух, азот и другие газы.Т